- DRY COOLER - Systemy chłodzenia
- Płaszczowo-rurowe
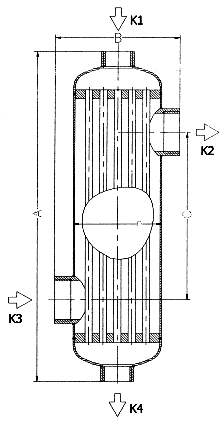
JAD, JAD X, S, H - Wymiennik JAD - Budowa
- Basenowe B-line
TI (T-line), EVO, REV - Płaszczowo-rurowe P-line
- Płytowe lutowane L-line
LA, LB, LC, LD, LH, LM - Płytowe lutowane R-line
RA, RB, RC, RD - Płytowe lutowane LUNA
LA, LB, LC, LD - SafePLATE
LA, LB, LC - Płytowe skręcane PHE
- Wymienniki Rura w Rurze ST
- Wymienniki ciepła DNA
- Akcesoria dodatkowe
Izolacje (Otuliny),
Przeciwkołnierze,
Podpory,
Rurki dystrybucyjne,
Śrubunki - Instalacja wymienników ciepła
Wymienniki ciepła basenowe
Zastosowanie
Wymienniki ciepła typu B zostały zaprojektowane głównie do stosowania w instalacjach ogrzewania wody basenowej. Wymienniki mogą mieć również zastosowanie w instalacjach: technologicznych, klimatyzacyjnych, w których czynnikiem roboczym będzie woda, glikol lub olej. Z uwagi na zastosowany materiał wymienniki są szczególnie przydatne w przypadku grzania, (chłodzenia) wody agresywnej korozyjnie, zawierającej wolny tlen, agresywny dwutlenek węgla, jony chlorkowe i siarczanowe o stężeniu do 150 mg/dm3. W układach zamkniętych należy zastosować wodę uzdatnioną a w otwartych urządzenia uzdatniające wodę, np. magnetyzer.
Budowa
Wymiennik typu B jest urządzeniem przepływowym, przeciwprądowym z przepływem wody grzejnej w rurkach, a wody ogrzewanej w przestrzeni międzyrurowej płaszcza. Powierzchnię wymiany ciepła tworzy pęk rur f 8x 0,6 tworzących wężownicę grzejną. Pakiet wężownicy jest zakończony dwoma ścianami sitowymi umieszczonymi wewnątrz płaszcza wymiennika. Wężownica wymiennika jest wykonana z rur karbowanych. W przypadku stwierdzenia nieszczelności w rurce można ją wyłączyć z pracy poprzez obustronne zaślepienie. Dopuszcza się zaślepienie 5% ilości rur. Wymienniki stanowią nierozbieralną konstrukcję spawaną i są zbudowane z wysokostopowej stali
Kolory w nazwie modelu wymiennika oznaczają:
- - typ wymiennika
- - oznaczenie wielkości wymiennika
Charaktersystyka techniczna
| DANE TECHNICZNE | Max ciśnienie pracy [MPa] | Max temp. pracy [°C] | Pojemność [dm3] | Pow, wym. ciepła [m2] | Masa [kg] | |
| płaszcz | płaszcz | |||||
| B45 | 1,6 | 203 | 0,48 | 0,52 | 0,11 | 2,1 |
| B70 | 1,6 | 203 | 0,84 | 0,64 | 0,18 | 3,0 |
| B130 | 1,6 | 203 | 0,98 | 0,70 | 0,23 | 3,3 |
| B180 | 1,6 | 203 | 1,38 | 1,21 | 0,38 | 4,6 |
| B250 | 1,6 | 203 | 1,99 | 1,48 | 0,55 | 5,8 |
| B300 | 1,6 | 203 | 2,58 | 1,76 | 0,73 | 7,3 |
| B500 | 1,6 | 203 | 4,81 | 2,76 | 1,37 | 12,4 |
| B1000 | 1,6 | 203 | 7,78 | 4,55 | 1,97 | 23,5 (29,1)* |
Rysunek
![]() |
Przykładowa lokalizacja przyłączy |









